產品簡介:
利菲爾特大通量過濾器采用大流量打褶濾芯,多用于水處理中流量較大的保安過濾、清洗過濾、反洗過濾、冷凝液過濾等。本公司憑借多年過濾技術,經過對結構和工藝的不斷改良。
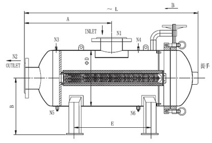
臥式大通量保安過濾器產品簡介:
利菲爾特大通量過濾器采用大流量打褶濾芯,多用于水處理中流量較大的保安過濾、清洗過濾、反洗過濾、冷凝液過濾等。本公司憑借多年過濾技術,經過對結構和工藝的不斷改良,現生產的大通量過濾器,其結構緊湊,工藝先進,質量穩(wěn)定可靠,在多個領域得到廣泛的應用。
設備選用3M、利菲爾特、利菲爾特等進口大流量打褶濾芯,可以獲得更大的有效過濾面積。確保在緊湊的空間中達到穩(wěn)定的過濾效果。
臥式大通量保安過濾器產品特點:
單支濾芯流量大,40”較高可達350加侖/分鐘(1325升/分鐘)
設備可根據空間,任意做臥式或立式結構
可以根據流量及精度要求,選配任意芯數和精度的過濾元件
濾芯密封部位的隔板,采用數控精密鏜孔,可保證絕無液體繞道側漏
濾芯內外均有牢固的支撐,可保證設備在運行時濾芯無晃動及歪斜,確保密封性能
設備開啟采用吊環(huán)螺栓快速開啟,維護設備及更換濾芯更加方便
濾芯通用外形尺寸外徑:6”;長度:40”或60”
處理精度級別:1、3、5、10、20、30、40、70、90、150微米(μm)等。
臥式大通量保安過濾器主要技術參數:
設計壓力:0.6~1.6MPA
設計溫度:5℃~100℃,超過80℃需告知
密封型式:O型圈密封
密封材質:丁腈橡膠、硅膠、氟橡膠,標準配置為硅膠密封
接口形式: GB、HG、DIN、ANSI、JIS標準法蘭
推薦更換壓差:2.0bar
較大更換壓差:2.4bar
表面處理:亞光噴珠
過濾精度: 1、3、5、10、20、30、40、70、90、150微米(μm)等。
濾器材質: SS304 、316L 、碳鋼襯膠